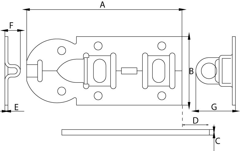
Ben je op zoek naar een eenvoudige manier om een gelijkliggend hek van bijvoorbeeld een weiland of tuin dicht te doen en waar nodig af te sluiten? Dan is deze hangslotrolschuif de geschikte oplossing. Deze rolschuif loopt letterlijk en figuurlijk op (kunststof) rolletjes en dankt daar ook zijn naam aan. Hij is verkrijgbaar in vijf verschillende maten (variërend tussen 100 en 180 mm) en zeer geschikt voor buitengebruik.
Zowel montage als gebruik is kinderlijk eenvoudig. Met schroeven plaats je de schuif met slotoog en het sluitplaatje in een handomdraai op het hout, waarna je de schuif snel en eenvoudig dichtschuift. Om hem af te sluiten kun je bijvoorbeeld één van onze DX hangsloten gebruiken.
Het betreft hier een vlak model wat inhoudt dat deze gemaakt is voor gelijkliggende deuren, hekken of poorten. Heb je te maken met een hek of deurtje dat verder naar achteren ligt? Gebruik dan deze hangslotrolschuif met bocht. Tot slot is deze schuif zowel links en rechts als horizontaal en verticaal te gebruiken.
Talhoutweg 11-15
8171 MB Vaassen
Nederland
+31-578579231












