Op zoek naar een oplossing om het binnenklimaat beter te beheersen of rust te creëren in een werk- of leefomgeving? Dan is deze RVS deuropvanger een goede oplossing voor toepassing in vochtige of klinische omgevingen! De deuropvanger vangt, zoals de naam al doet vermoeden, de deur het laatste stukje op om hem vervolgens geruisloos te sluiten. De sluitsnelheid is voor de laatste 10° naar wens instelbaar met een maximale duur van 10 seconden. Wanneer de deur dicht zit, houdt de deuropvanger hem ook echt dicht, waardoor je plotseling openwaaien of klapperen voorkomt. In combinatie met bijvoorbeeld een deurdranger of deurveerscharnier maak je klimaatbeheersing gemakkelijker en bevorder je de levensduur van je deur en sluitingen. Tegelijkertijd zorg je voor rust in de omgeving. Het roestvaststaal (RVS) is corrosiewerend en zorgt ervoor dat bacteriën niet kunnen hechten. Dat maakt onze JUSTOR deuropvangers bij uitstek geschikt voor toepassing in keukens, scholen en ziekenhuizen.
Afhankelijk van het gewicht van de deur kies je voor de DRV 1 (max. 40 kg), DRV 2 (max. 80 kg) of DRV 3 (max. 100 kg).Montage aan de bovenzijde is in combinatie met deze sluithaak (niet meegeleverd) mogelijk op opdekdeuren tot 12 mm of gelijkliggende deuren. Heb je een terugliggende deur, een opdekdeur van meer dan 12 mm of smalle kozijnen? Dan is bevestiging mogelijk in combinatie met een sluithaak voor terugliggende deuren, een opvulblok of een opdekplaatje.
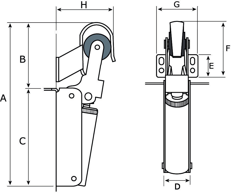
| Artikel | Labelcode | MBH | zwaarte | maximaal deurgewicht (kg) | maximale deurbreedte (mm) | A (mm) | B (mm) | C (mm) | D (mm) | E (mm) | F (mm) | G en H (mm) | Bestel | |
| 4003.312.1012 | DRV 1V SS | 1 | 1 | 40 | 850 | 183,5 | 75 | 108,5 | 32 | 27 | 66,5 | 49 en 64 | ||
Labelcode DRV 1V SS MBH 1 zwaarte 1 maximaal deurgewicht (kg) 40 maximale deurbreedte (mm) 850 A (mm) 183,5 B (mm) 75 C (mm) 108,5 D (mm) 32 E (mm) 27 F (mm) 66,5 G en H (mm) 49 en 64 | ||||||||||||||
| 4003.312.2012 | DRV 2V SS | 1 | 2 | 80 | 1.100 | 183,5 | 75 | 108,5 | 32 | 27 | 66,5 | 49 en 64 | ||
Labelcode DRV 2V SS MBH 1 zwaarte 2 maximaal deurgewicht (kg) 80 maximale deurbreedte (mm) 1.100 A (mm) 183,5 B (mm) 75 C (mm) 108,5 D (mm) 32 E (mm) 27 F (mm) 66,5 G en H (mm) 49 en 64 | ||||||||||||||
| 4003.312.3012 | DRV 3V SS | 1 | 3 | 100 | 1.250 | 200 | 75 | 125 | 36 | 27 | 66,5 | 49 en 64 | ||
Labelcode DRV 3V SS MBH 1 zwaarte 3 maximaal deurgewicht (kg) 100 maximale deurbreedte (mm) 1.250 A (mm) 200 B (mm) 75 C (mm) 125 D (mm) 36 E (mm) 27 F (mm) 66,5 G en H (mm) 49 en 64 | ||||||||||||||
Talhoutweg 11-15
8171 MB Vaassen
Nederland
+31-578579231












