Veel inbrekers komen binnen via het bovenlicht: het kleine raampje boven een raam of deur. Een barrièrestang vertraagd de inbreker, maar kan inbraak niet volledig voorkomen. Vaak staat het bovenlicht op een kier of is het op een heel eenvoudige manier vergrendeld. Voor inbrekers is het dan vrij gemakkelijk het bovenlicht te forceren en te openen, vooral als een kliko of ladder in de buurt is waar ze op kunnen staan. Via het bovenlicht kan de deur of het raam worden geopend wanneer de sleutel nog in het slot zit.
Oplossing?
Beveilig het bovenlicht met een DX raamuitzetter wegdraaibaar SKG**® en sluit altijd jouw ramen en deuren wanneer je de deur uit gaat!
Voor meer informatie over inbraakbeveiliging en PKVW zie tabblad 'Politie Keurmerk Veilig Wonen (PKVW)'
Toepassingsadvies
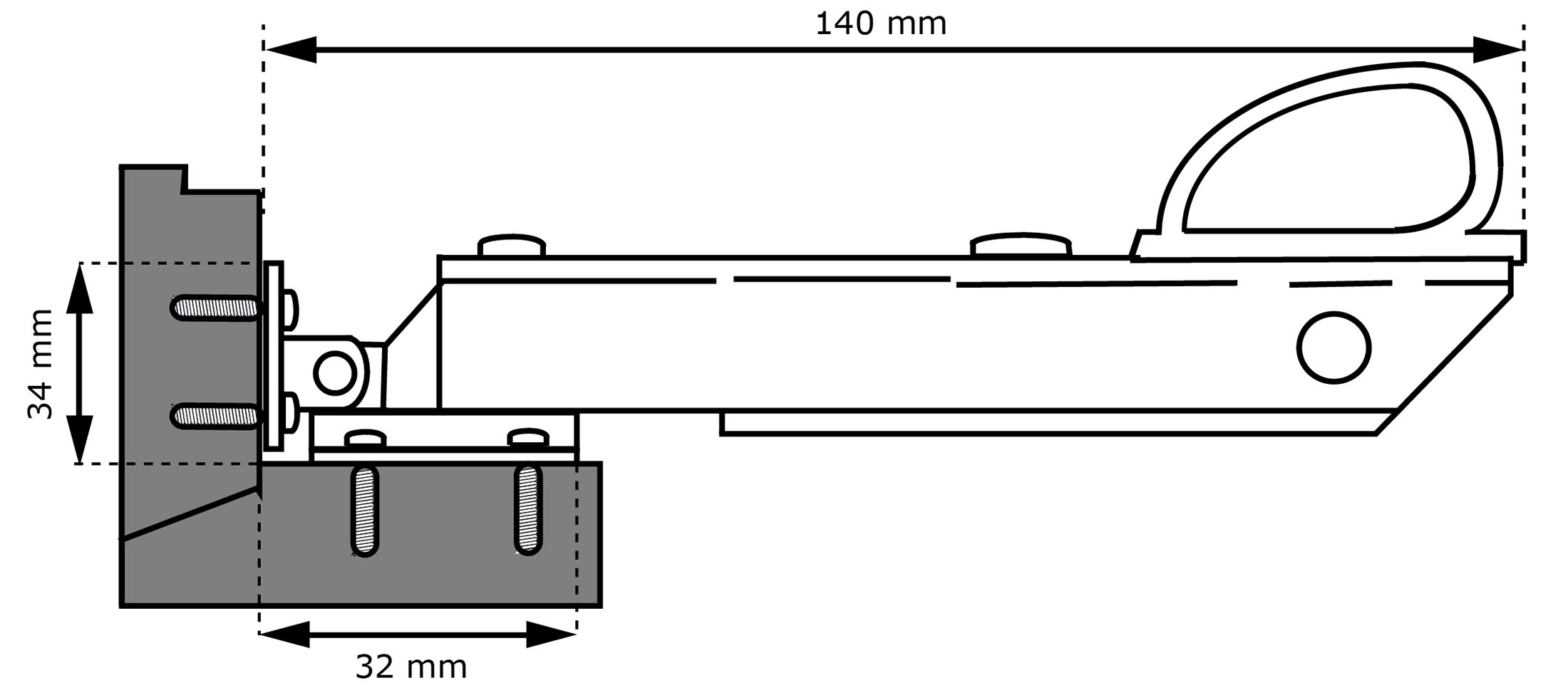
De minimaal benodigde openingsruimte van deze raamuitzetter wegdraaibaar SKG**® is slechts 135 mm. Daarmee is dit model meteen de kortste raamuitzetter wegdraaibaar verkrijgbaar in de markt. Een bijkomend voordeel van dit korte model is dat de raamuitzetter ook in combinatie met een barrièrestang perfect toegepast kan worden. Daarnaast is de raamuitzetter toepasbaar op smalle kozijnen vanaf 32 mm kozijnhoutdiepte Bij een raambreedte vanaf 1 meter wordt geadviseerd om twee DX raamuitzetters wegdraaibaar SKG**® toe te passen.
Voor de overbrugging van een tochtstrip of tochtkader zijn er onderlegplaatjes verkrijgbaar (zie tabblad accessoires).
Technische info
De DX raamuitzetter wegdraaibaar SKG**® is gemaakt van RVS en zamac onderdelen. De montagevoetjes en body zijn van RVS gemaakt en het handvat is van kunststof. Het beslag is verkrijgbaar in de kleuren wit-wit, RVS-hamerslag antraciet en zwart-zwart. Doordat de raamuitzetters (type RUZ) deel uit maken van ons programma raam- & deurbeslag van o.a. raamboompjes (type RBM) en oplegraamsloten (type SLS), zijn design, materiaal, kleur en finish perfect op elkaar afgestemd. Kortom: Eén sluitende oplossing voor jouw raam- en deurkozijnen.
| Artikel | Labelcode | MBH | materiaal | finish | Bestel | |
| 0218.104.0409 | RUZ-WKS-300BE | 10 | zamac / RVS | RVS / zwart | ||
Talhoutweg 11-15
8171 MB Vaassen
Nederland
+31-578579231












